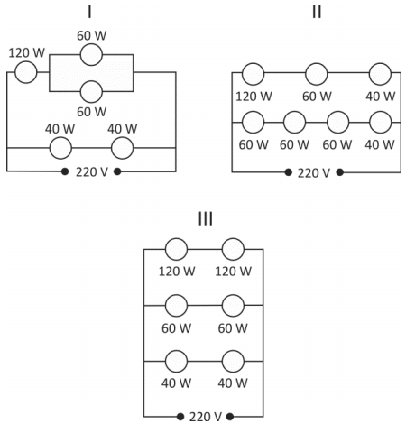
59 Dispõe-se de várias lâmpadas incandescentes de diferentes potências, projetadas para serem utilizadas em 110 V de tensão. Elas foram acopladas, como nas figuras I, II e III abaixo, e ligadas em 220 V.
Em quais desses circuitos, as lâmpadas funcionarão como se estivessem individualmente ligadas a uma fonte de tensão de 110 V?
a) Somente em I.
b) Somente em II.
c) Somente em III.
d) Em I e III.
e) Em II e III.
Resposta D
Solução
Para que elas funcionem como se estivessem ligadas em uma fonte de 110 V, é natural pensar que a DDP a que estão submetidas no circuito precisa ser de 110 V. Logo, vamos procurar nos esquemas fornecidos as DDPs a que as lâmpadas estão submetidas.
No circuito 1, podemos esquematizar:

Em que cada uma está submetida a 110 V.
U_lamp 40W = 220/2
Este raciocínio pode ser estendido para as outras lâmpadas.
No circuito III, cada lâmpada ficará submetida à metade da DDP (220 V/2), já que são idênticas.
No circuito II, não se observa simetria, logo a ddp das lâmpadas não será 110 V.

